產品目錄
Product Center
-
便攜式氣象站
-
地質災害應急救援裝備
-
空氣質量監測站
-
負氧離子監測站
-
el測試儀
-
光伏氣象站
-
輻射傳感器
-
生命探測儀
-
氣象監測站
-
揚塵監測站
-
車載環保氣象站
-
voc在線監測系統
-
惡臭在線監測系統
-
室內甲醛檢測儀
-
氮氧化物監測系統
-
空氣微生物采樣器
-
煙氣分析儀
-
粉塵濃度測量儀
-
個體粉塵采樣器
-
光透過率檢測儀
-
風量罩
-
風速風向儀
天蔚環境
聯系人:李經理
銷售電話:15666887396
銷售QQ:2248893324
公司地址:山東省濰坊市高新區光電路155號光電產業加速器
超聲波三維風速風向儀
產品型號:TH-SWF1
產品品牌:天蔚
產品詳情
1. 超聲波三維風速風向儀產品概括
SWF1三維超聲波風傳感器可同時提供三個維度方向的風速測量。采用優質鋁合金殼體設計,結構緊湊美觀,便于安裝和維護。主要應用于風力發電、道路橋梁氣象監測、環保等。
SWF1三維超聲波風傳感器,在2D測量模式下可水平風速、垂直風速、風向及風溫、聲速,在3D測量模式下可以測量U、V、W軸上的風速。
SWF1三維超聲風傳感器采用9~36伏直流電供電并配有4針的M12連接器供安裝。可在極為惡劣環境下工作,無須額外維護。外殼采用特殊表面處理工藝,具有較高的抗腐蝕性與抗風沙性,同時密封防護等級可達IP67級。
2. 超聲波三維風速風向儀技術參數及要求
2.1 環境要求
工作溫度:-50℃~+85℃
儲存溫度:-50℃~+85℃
工作濕度:0-100%
海拔高度:0~4000m
2.2 功能描述
類型:三維超聲波風傳感器
外殼材質:硬氧鋁合金
供電電源:9~36VDC
重量:1.5kg
工作電流:24V@20mA
輸出信號類型:RS-485
防護等級:IP66
參數設置:出廠已完成配置,如有特別要求,可以通過配置軟件進行波特率、輸出方式等參數配置。
風速
測量范圍:0~50m/s
分辨率:0. 01m/s
精度:±0.2m/s (0-10m/s)、±2% (>10m/s)
風向
測量范圍:0~359.9°(U-V平面內的0~359.9°風向角,指北線朝正北,0.0°=北,90.0°=
東,180.0°=南,270.0°=西)
分辨率:0.1°
精度:±2°
聲波溫度(風溫)
溫度范圍:-50 至+50oC
分辨率:0.1oC
精度:±2oC(0~30m/s)
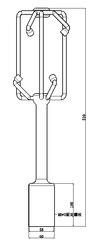
2.4. 設備尺寸

本文地址:http://m.27lp.com/fsfxyi/365.html
-
15666887396 -
-



